Описание
Характеристики
Отзывы
Описание
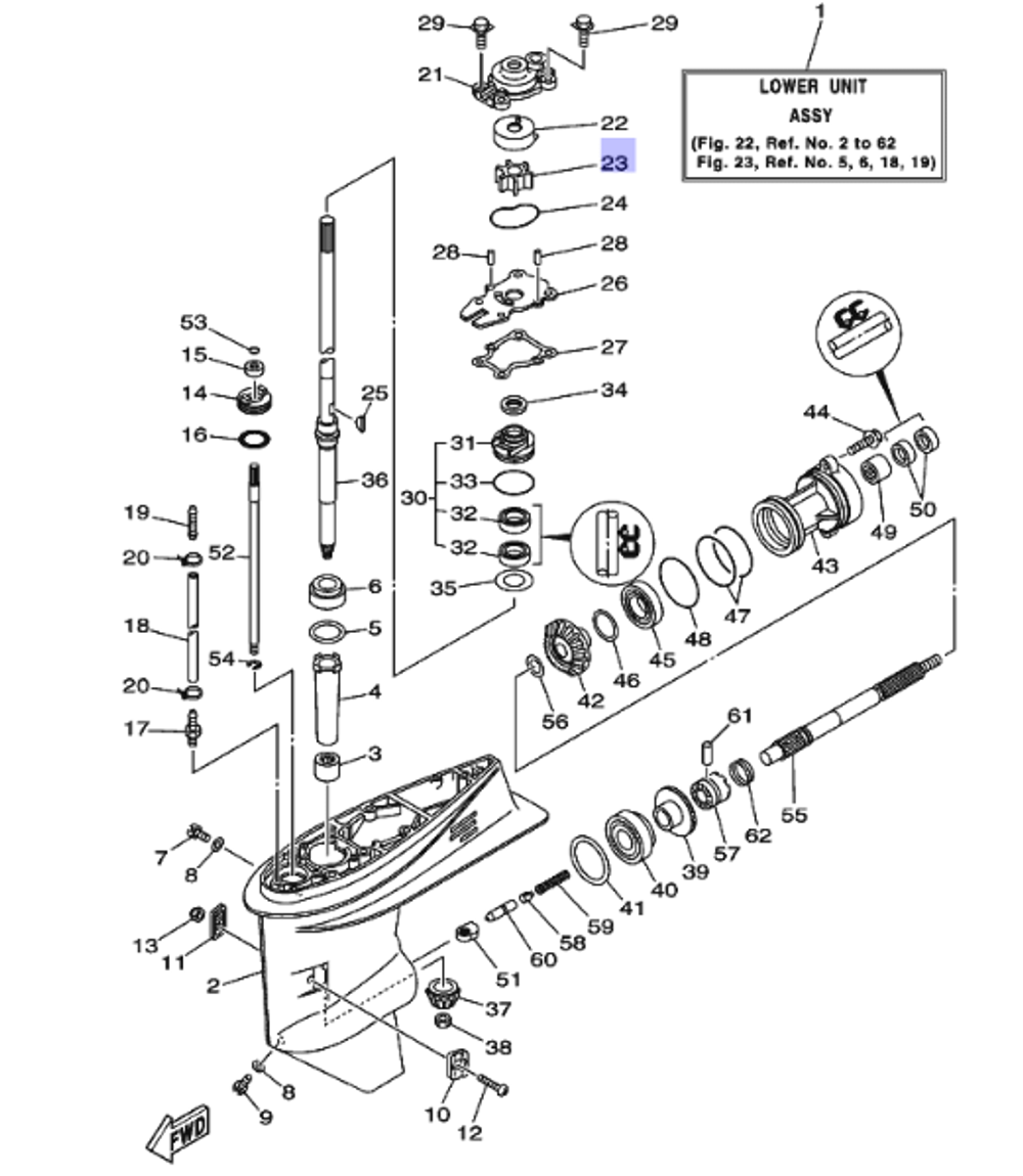
Оригинальная крыльчатка помпы охлаждения для подвесных лодочных моторов Yamaha 6H3443520000 Устанавливается на следующую модели: 40V; 40Y; 50G; 50H; 55B; 60F; 70B; 70E F40A; F40C; F40D; F40G; F40H; F45A; F50A; F50B; F50C; F50D; F50F; F50H; F60A F60C; F60F; F70AАртикул: 6H3443520000; В0000091126
Характеристики
Артикул
В0000091126
Бренд
Yamaha
Артикул производителя
6H3443520000
Объединять на одной карточке
168406898
Отзывы
Отзывов еще никто не оставлял
