Описание
Характеристики
Отзывы
Описание
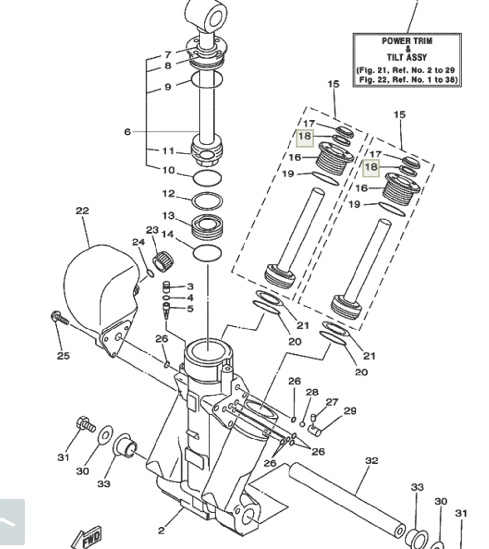
Сальник системы гидроподъема (трима) для лодочных моторов Yamaha Устанавливается на следующие модели: Yamaha 100/115/130/140/150/175/200/225/250 Yamaha F95/F100/F115/F150/F200/F225/F250Артикул: 64E4384J0000; В0000180359
Характеристики
Производитель
Yamaha
Производитель лодочного мотора
Yamaha
Тип запчасти
Сальник
Отзывы
Отзывов еще никто не оставлял
